库克是真不按常理出牌,昨晚凌晨三点半发推,一句“家庭新成员”,直接让熬夜等iPhone SE4的兄弟当场破防了。
根据推文来看,目前新品定在2月19日(北京时间2月20日)公布,按照苹果这几年的预热套路,库克亲自下场发推,这事儿就不简单,再看“新成员”和“家庭”这俩词儿,可太关键了。

虽说肯定不会是iPhone SE4,但别忘了苹果还有一个被遗忘的“孩子”——HomePod。这玩意儿上次更新还是2023年年初,和iPhone SE一样,都是“断更”专业户。
而且,HomePod本身就是主打家庭场景的智能设备,这和“家庭”的概念完美契合。

再结合最近的各种爆料,苹果很可能要发布一款带屏幕的智能音箱HomePod。
但是话说回来了,从亚马逊Echo Show到谷歌Nest Hub,带屏智能音箱早被玩出花来了,苹果还能卷出哪些新花样呢?

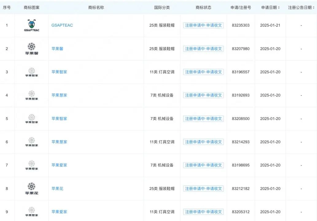
关于这款带屏HomePod的传闻其实早有端倪,目前苹果(中国)有限公司申请注册包含苹果智家、苹果慧家、苹果爱家、苹果花在内的多个商标。

国际分类涉及服装鞋帽、灯具空调、机械设备等,当前商标状态为注册申请中,似乎就是在为进军智能家居做准备。

甚至tvOS 18 的代码里已经出现了和带屏HomePod相关的界面。

根据爆料来看,带屏HomePod的外观设计绝对是个亮点。
分析师郭明錤早前的透露,这款HomePod Display可能会配一块7英寸的LCD屏幕,不仅能用来FaceTime视频通话,还能控制其他智能家居设备。

试想一下,以后喊一声“嘿,Siri”,屏幕就自动亮起,还能控制家里的灯、空调、窗帘……这不就是智能家居的终极梦想吗?

当然了,苹果的创新可不止于此。据说,官方还在研究一种“机械臂”技术,让屏幕能像机器人手臂一样旋转。
不管你走到房间的哪个角落,屏幕始终对着你,这设计灵感应该来自自苹果的经典产品iMac G4。

更绝的是,这款设备还可能搭载A18芯片,支持Apple Intelligence,这意味着它能像Vision Pro一样,成为真正的“居家智能枢纽”,而不是现在的“人工智障”Siri。

要是再加上相机模组和前置超广角摄像头,它说不定能成为家庭里的“智能管家”,监控家里的一切,还能通过AI识别物体,帮你做更多事情。

软件方面,苹果为带屏 HomePod 准备了一个全新的独立操作系统——homeOS。

这个系统专门针对智能家居设备设计,从曝光的代码来看,homeOS 还支持触摸操作,它不仅能控制家里的智能设备,还能通过屏幕实时显示状态。

比如,你可以一边做饭一边查看天气、日历,未来可能会有更多专属应用和互动,这可比现在的 HomePod 强太多了。

不管怎么说,如果这款带屏HomePod真的发布,那可真是苹果在智能家居领域的“王炸”了。毕竟,它不仅能靠AI硬件抢市场,还能和苹果的其他设备无缝连接,形成一个强大的智能家居生态系统。

当安卓阵营狂卷AI手机,苹果默默点开技能树:让音箱学会扭头,让Siri学会思考,让智能家居会花式掏空你的钱包。

至于那个跳票N年的AirPower无线充电板?库克邪魅一笑:“都在homeOS里了!”
文是楼上发的,图是楼上帖的,寻仇请认准对象。
有些是原创,有些图文皆转载,如有侵权,请联系告知,必删。
如果不爽,请怼作者,吐槽君和你们是一伙的!请勿伤及无辜...
本站所有原创帖均可复制、搬运,开网站就是为了大家一起乐乐,不在乎版权。
对了,本站小水管,垃圾服务器,请不要采集,吐槽君纯属用爱发电,经不起折腾。
























暂无评论内容